Размеры изделия:
- внутренний диаметр (d): 65 мм;
- наружный диаметр (D): 120 мм;
- ширина подшипника/внутреннего кольца (B): 23 мм;
- диаметр описанной окружности роликов (E): 108,5 мм;
- диаметр вписанной окружности роликов (F): 78,5 мм;
- наружный диаметр буртика внутреннего кольца (d1): 84,5 мм;
- минимальный радиус галтели (rNs): 1,5 мм;
- минимальный радиус галтели (rs): 1,5 мм;
- класс радиального зазора: C3;
- вес: 1,21 кг.
Производительность продукта:
- динамическая грузоподъёмность (C): 127 кН;
- статическая грузоподъёмность (C0): 119 кН;
- предельная усталостная нагрузка (Cu): 14,5 кН;
- предельная скорость при смазывании маслом (N lim): 7600 об/мин;
- предельная скорость при смазывании консистентной смазкой (N lim): 5400 об/мин;
- мин. рабочая температура (Tmin): -20 °C;
- макс. рабочая температура (Tmax): 120 °C.
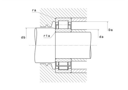
Размеры окружающих деталей:
- минимальный диаметр буртика вала (da min): 73 мм;
- минимальный диаметр проставочной втулки внутреннего кольца (db min): 81 мм;
- максимальный диаметр буртика корпуса (Da max): 112 мм;
- минимальный диаметр буртика малого торца (Db min): 110 мм;
- максимальный радиус галтели (ra max): 1,5 мм;
- максимальный радиус галтели (r1a): 1,5 мм.
|
Бренд
|
NTN |
|
Внутренний диаметр, мм
|
65 |
|
Наружный диаметр, мм
|
120 |
|
Ширина, мм
|
23 |