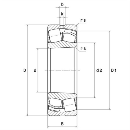
Размеры изделия:
- внутренний диаметр (d): 95 мм;
- наружный диаметр (D): 170 мм;
- ширина подшипника/внутреннего кольца (B): 43 мм;
- наружный диаметр внутреннего кольца (d2): 110,8 мм;
- внутренний диаметр наружного кольца (D1): 152,8 мм;
- минимальный радиус галтели (rs): 2,1 мм;
- кол-во отверстий для пересмазывания: 3;
- b- ширина паза: 9,54;
- диаметр отверстия (k): 4,5 мм;
- обозн. втулки: H319;
- класс радиального зазора: C3;
- вес: 3,85 кг.
Производительность продукта:
- динамическая грузоподъёмность (C): 416 кН;
- статическая грузоподъёмность (C0): 417 кН;
- предельная усталостная нагрузка (Cu): 46,5 кН;
- коэффициент (е): 0.23 кН;
- коэффициент статической осевой нагрузки (Y0): 2.89 кН;
- коэффициент осевой нагрузки (Y1): 2.95 кН;
- коэффициент осевой нагрузки (Y2): 4.4 кН;
- базовая частота вращения (N ref): 3800 об/мин;
- предельная частота вращения (N lim): 4800 об/мин;
- мин. рабочая температура (Tmin): -40 °C;
- макс. рабочая температура (Tmax): 200 °C.
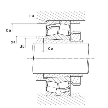
Размеры окружающих деталей:
- минимальный диаметр буртика вала (da min): 107 мм;
- минимальный диаметр втулки (db): 102 мм;
- минимальная длина втулки (Ce): 9 мм;
- максимальный диаметр буртика корпуса (Da max): 158 мм;
- максимальный радиус галтели вала и корпуса (ra max): 2 мм.
|
Бренд
|
NTN |
|
Внутренний диаметр, мм
|
95 |
|
Наружный диаметр, мм
|
170 |
|
Ширина, мм
|
43 |