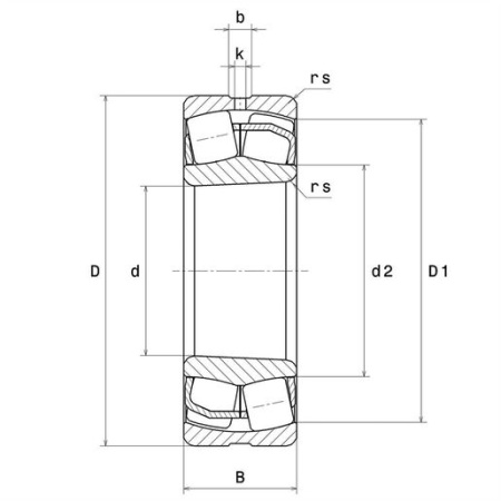
Размеры:
- марка: NTN;
- внутренний диаметр (d): 55 мм;
- наружный диаметр (D): 100 мм;
- ширина подшипника/внутреннего кольца (B): 25 мм;
- наружный диаметр внутреннего кольца (d2): 66 мм;
- внутренний диаметр наружного кольца (D1): 89,7 мм;
- минимальный радиус галтели (rs): 1,5 мм;
- кол-во отверстий для пересмазывания: 3;
- b- ширина паза: 6,35;
- диаметр отверстия (k): 3 мм;
- обозн. втулки: H311;
- класс радиального зазора: C3;
- вес: 0,766 кг.
Производительность продукта:
- динамическая грузоподъёмность (C): 155 кН;
- статическая грузоподъёмность (C0): 148 кН;
- предельная усталостная нагрузка (Cu): 18 кН;
- коэффициент (е): 0.23 кН;
- коэффициент статической осевой нагрузки (Y0): 2.89 кН;
- коэффициент осевой нагрузки (Y1): 2.95 кН;
- коэффициент осевой нагрузки (Y2): 4.39 кН;
- базовая частота вращения (N ref): 6100 об/мин;
- предельная частота вращения (N lim): 8200 об/мин;
- мин. рабочая температура (Tmin): -40 °C;
- макс. рабочая температура (Tmax): 200 °C.
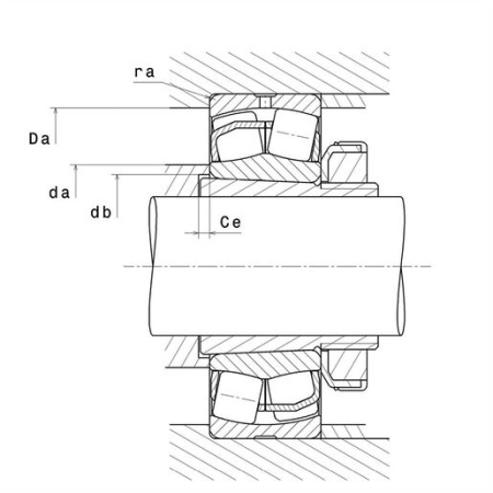
Размеры окружающих деталей:
- минимальный диаметр буртика вала (da min): 64 мм;
- минимальный диаметр втулки (db): 60 мм;
- минимальная длина втулки (Ce): 10 мм;
- максимальный диаметр буртика корпуса (Da max): 91 мм;
- максимальный радиус галтели вала и корпуса (ra max): 1,5 мм.
|
Бренд
|
NTN |
|
Особенности конструкции
|
K - коническое отверстие 1:12 |
|
Сепаратор
|
стальной |
|
Уплотнение
|
без уплотнений (открытый) |
|
Зазор / преднатяг
|
C3 - зазор больше нормального |
|
Внутренний диаметр, мм
|
55 |
|
Наружный диаметр, мм
|
100 |
|
Ширина, мм
|
25 |
|
Вес, кг
|
0.8 |